大型·专业
铝合金型材生产企业
0536-3352888
网站首页
关于巨利
巨利简介
企业文化
领导关怀
组织架构
发展历程
资质荣誉
新闻中心
巨利动态
行业新闻
媒体报道
产品中心
隔热系列
幕墙
平开窗
推拉窗
通用材料
门料
工业型材
铝木复合系列
人力资源
人才观
招聘信息
工程案例
员工风采
营销网络
联系我们
联系方式
在线留言
当前位置:
网站首页
-
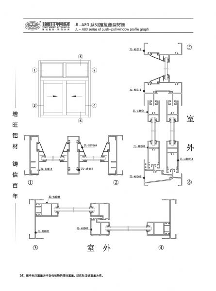
A80系列推拉窗
咨询电话:0536-3352888
联系方式
/ contact
服务热线:
0536-3352888
地址:
山东省潍坊市临朐东城街道东阳路168号
推荐排序
自然顺序
自然长宽
强调重点
所有分类
员工风采
荣誉资质
工程案例
北京
天津
河北
内蒙古
宁夏
山西
江苏
浙江
安徽
山东
河南
陕西
产品展示
隔热系列
幕墙
平开窗
推拉窗
通用材料
门料
工业型材
铝木复合系列
A80系列推拉窗
2024-9-26
一键分享:
上一条
70B系列推拉窗
下一条
70系列推拉窗